Cc YSM 305 h:40 D400
Composite Grate

Features | Dimensions (mm) |
Composite Rainwater Grate | ![]() |
Type | Heavy Load - Medium Load - Light Load |
Class | D400 / C250 / B125 |

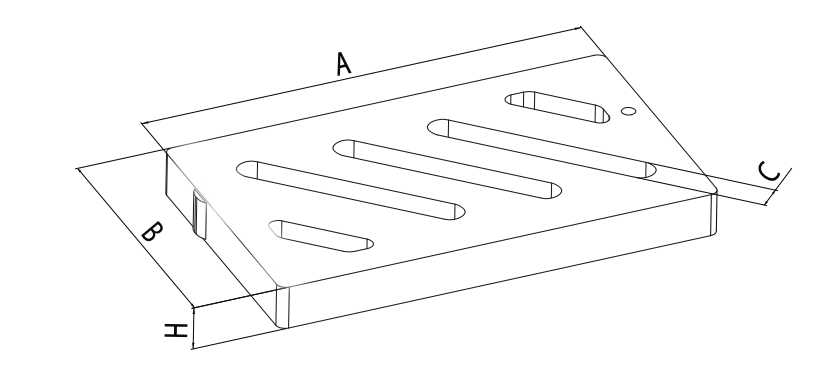
This grate is manufactured in accordance with TS 1478 EN 124 standards. The length of the grate is 500 mm, thickness is 50 mm, and the width is 300 mm. Additionally, the gaps between the bars are 220 mm in length and 23 mm in width.
Specifications
- Dimensions: 300x500x50
- Produced in accordance with TS 1478 EN 124 standards.
- Type: Medium Duty
- Class: D400
- Weight: 8kg
- Load Capacity 400 kn (40 ton)
Advantages
- Lightweight compared to metal.
- Requires no maintenance and is theft-resistant.
- Resistant to corrosion and does not rust.
- Easy to transport and install.
- Various color options are available.